|
|
 | HC-PRRD
Ư¡ :
- Ç÷¹ÀÌÆ® ŸÀÔÀ¸·Î º¼Æ® Á¶¸³.
- °¢ÆÄÀÌÃ÷ ¶Ç´Â °¢ºÀ, ·¹ÀÏ¿¡ Àû¿ë.
- ¿©·¯°¡Áö ÇϺηζó·Î »ç¿ë °¡´É. |
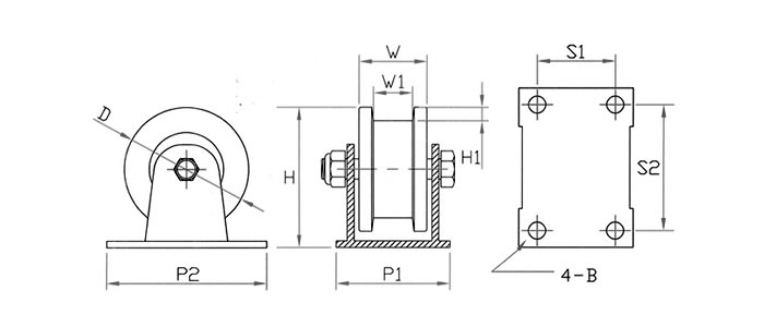
¡á ±Ô°ÝÇ¥(³·À½¿ë)
| ǰ¹ø |
»óǰ¸í |
¹ÙÄû¿Ü°æ
(D) |
¹ÙÄûÆø
(W) |
È¨Æø
(W1) |
Àüü³ôÀÌ
(H) |
Ȩ±íÀÌ
(H1) |
¹ØÆÇ³ÐÀÌ
(P1-P2) |
º¼Æ®°£°Å¸®
(S1-S2) |
º¼Æ®È¦
(B) |
»ðÀÔº£¾î¸µ
(Z) |
Çã¿ëÇÏÁß
(kg) |
| HC-31001 |
HC-PRRD 1-1/4" |
32 |
24 |
7 |
38 |
6.5 |
31-55 |
18-40 |
6.5 |
607 |
70 |
| HC-31002 |
HC-PRRD 2" |
50 |
29 |
14 |
59 |
7.5 |
42-68 |
25-53 |
7.5 |
6000 |
100 |
| HC-31003 |
HC-PRRD 2-1/2" |
65 |
34 |
20 |
76 |
10.5 |
48-80 |
31-65 |
8.5 |
6000 |
120 |
| HC-31004 |
HC-PRRD 3" |
75 |
40 |
22 |
84 |
8 |
67-95 |
46-75 |
10.3 |
6201 |
150 |
| HC-31005 |
HC-PRRD 80 |
80 |
52 |
32 |
89 |
10 |
72-145 |
38-108 |
11 |
6301 |
300 |
| HC-31006 |
HC-PRRD 4"(35) |
100 |
70 |
35 |
142 |
11 |
114-158.5 |
74-129 |
12.5 |
6204 |
800 |
| HC-31007 |
HC-PRRD 4"(46) |
100 |
70 |
46 |
142 |
11 |
114-158.5 |
74-129 |
12.5 |
6204 |
800 |
| HC-31008 |
HC-PRRD 4"(52) |
100 |
70 |
52 |
142 |
9.5 |
114-158.5 |
74-129 |
12.5 |
6204 |
800 |
| HC-31039 |
HC-PRRD 5"(35) |
130 |
55 |
35 |
144 |
15 |
98-99 |
72.5-73.5 |
10.5 |
6204 |
800 |
| HC-31040 |
HC-PRRD 6"(65) |
150 |
91 |
65 |
171 |
25 |
130-180 |
97.5-147 |
14.5 |
6304 |
1000 |
| HC-31041 |
HC-PRRD 1-1/2" |
40 |
26 |
10 |
55 |
7 |
39-68 |
24-53 |
7 |
608 |
90 |
|
|